Views: 0 Author: Site Editor Publish Time: 2026-02-28 Origin: Site
The Function of Paper Machine Cylinder Mould
The cylinder mould is the main component on which the paper web is formed in cylinder paper machine. Require it to filter water evenly and not generate excessive agitation in the mesh tank during rotation. The cylinder mould should have sufficient rigidity and accurate geometric dimensions, and should be installed horizontally.
Cylinder mould are divided into: ordinary, chip type, suction, and vacuum cylinder mould according to their structure; Divided by material: ordinary, all copper, stainless steel cylinder mould.
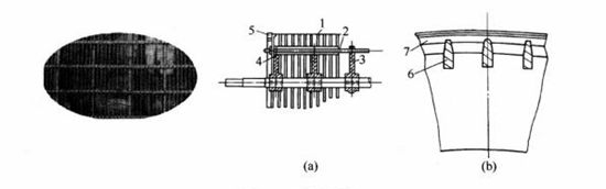
Below picture is a schematic diagram of a typical cylinder mould structure.

A brass support rib device called spokes is installed on the cast iron shaft, with a spoke spacing of 100-150mm. The spokes support the central wheel rim and are surrounded by grooves. The grooves are equipped with horizontal bars of the same length as the cylinder mould. The diameter of the horizontal bar is about 1cm, with a center to center distance of about 4cm, parallel to the central axis. The horizontal bar is made of steel or brass, and its cross-section can be circular or rectangular. The outermost two wheels are cast with protruding rings to form a seal with the corresponding parts of the mesh groove, isolating the inside and outside of the cylinder mould. Milling serrated small grooves on the horizontal bar according to a spiral line, winding a continuous metal wire with a diameter of about 3mm in a spiral shape around the cylinder mould to form a cylinder shaped mesh cylinder frame. The gap between adjacent metal wires is about 1cm. Finally, cover the copper wire with a thicker layer of brass or stainless steel mesh, and then cover it with a thinner mesh used for papermaking. Both the inner mesh and the surface mesh are end mesh, which are tightened on the cylinder mould frame with special tools and connected by silver welding or electric welding. The final assembly must be very round and concentric with the central axis, with sufficient rigidity to withstand the pressure of the rollers without deformation. The diameter range of standard cylinder mould is about 1-1.5m, and the commonly used specification is 1.2m.
The cylinder mould bearing device is located outside the mesh groove. The two ends of the cylinder mould are connected to the side box of the mesh slot. After the pulp is connected to the grid, the white water filtered into the cylinder mould through a copper mesh enters the side box from both ends of the cylinder mould, and is then pumped out by a white water pump for recycling.

The inner mesh of the cylinder mould is generally 8-16 mesh, mainly used to disperse the pressure of the rollers and keep the surface mesh flat. The mesh is relatively dense and used to filter fibers to form a paper web, typically ranging from 40-100 mesh. The selection of mesh size mainly depends on the variety of paper produced, and the most commonly used mesh size for producing general cultural paper is 65 mesh.
The following figure shows a structural form of the chip type cylinder mould. Chip type cylinder mould refers to changing the outer disc of a regular cylinder mould from a copper wire with a diameter of 3mm to a stainless steel plate with a rectangular cross-section. Its main features are: increasing the filtration area and speed, and improving production; Improve paper quality, including uniformity, weight, aspect ratio, and reduce the consumption and maintenance costs of copper mesh, felts, and other materials; Strengthen the overall integrity and anti-corrosion performance of equipment, with high strength, good rigidity, and durability. There are three types of cylinder mould that have been developed and produced: pass through chip, winding chip, and inclined chip.
![]() | ![]() |
Contact Us